Colector A-BB

Colector A-BB

Colector A-BB

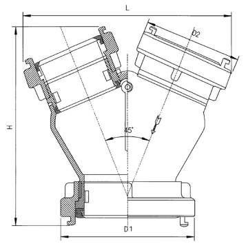
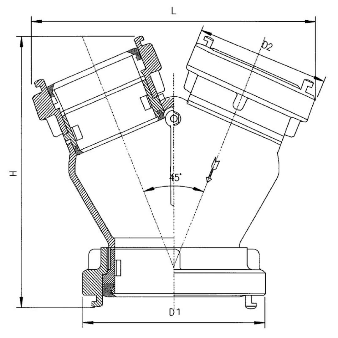
Colectorul A-BB este format din doua racorduri de absorbtie tip B și un racord de refulare tip A. Este folosit la amestecarea a doua cantitati de substanta de stingere din doua furtunuri (egalizand in acelasi timp presiunea daca este cazul). Presiunea maxima admisa este de 16 bar. 

Fisa Tehnica:


Producător: CSOLNOKI SZERELVÉNYGYARTÓ Kft. din Ungaria

Domeniu de utilizare: Se utilizează pentru amestecarea a două cantităţi de substanţă de stingere din două furtunuri.

Material, aspect: Accesorii din aliaj turnat de aluminiu, cu două racorduri tip B-75 şi un racord tip A-110.

Structură, funcţionare: Dacă în ramurile de intrare se scurg lichide la diferite presiuni, clapa de închidere se va poziţiona astfel încât să echilibreze presiunile.

Presiune de lucru: 10 bar

Condiţii de funcţionare:

Aliajele de aluminiu sunt rezistente la coroziune. Durata de viaţă în condiţii normale de exploatare este echivalentă cu durata de viaţă a utilajelor cu care sunt folosite.

Având în vedere domeniul de aplicare, cerinţele de mediu înconjurător sunt cele obişnuite. Intervalul de temperatură a mediului înconjurător pentru care produsul îşi păstrează caracteristicile de funcţionare: -20°C la +50°C

DN

H

L

D1

D2

MASĂ

mm

mm

mm

tip

tip

kg

110

260

280

A-110

B-75

4,7

Marcare: siglă producător CSZ, Standard de referinţă, an de fabricaţie.

Spune-ţi opinia

Autentifică-te sau Înregistrează un cont nou pentru a putea scie o opinie

Livrarea produselor

Se efectueaza doar pe teritoriul Romaniei, prin firme de curierat rapid sau transportatori externalizati, in functie de volumul fiecarei comenzi. In acest moment colaboram cu firmele Fan Courier, DPD, Pall-Ex.

Important: Livrarile NU se efectueaza prin Posta Romana, iar Cumparatorul nu poate solicita aceasta modalitate de livrare.

Costul livrarii

Este suportat in totalitate de Cumparator. Acesta se calculeaza automat in functie de greutatea produselor comandate si adresa de livrare a Cumparatorului. Daca adresa de livrare nu se afla in zona de acoperire a firmei de curierat se va taxa cu 0,8 lei + TVA fiecare kilometru suplimentar.

Plata produselor

Cumparatorul poate sa achite contravaloarea comenzii prin urmatoarele modalitati:

a) Plata online cu cardul bancar prin aplicatia LibraPay (Visa/Mastercard/Maestro)

Icon securitate LibraPay

b) Cu numerar la livrare, catre firma de curierat

c) In avans prin Ordin de plata sau Internet Banking in unul din conturile:

1. IBAN: RO35BREL0002001572020100
Banca: LIBRA BANK (Persoane fizice sau Juridice)

2. IBAN: RO36TREZ7025069XXX015883
Banca: TREZORERIA STATULUI (Numai pentru clientii Institutii Bugetare)

 

SIRIUS DISTRIBUTION SRL
CIF: RO16746300
O.N.R.C.:: J40/14459/2004

 

Important pentru Persoane juridice!

1. Pentru anumite produse de volum sau greutate mare (pubele, containere, picheti PSI, cutii hidrant, saci cu marfa de 25kg, gel 5kg IPL) pentru clienții persoane juridice modalitatea de plata acceptata este numai ordin de plata in avans.

2. Nu se accepta retur la produse care nu fac parte din categoria dispozitive medicale si care prezinta mici deformari sau exfolieri locale de vopsea.

Pentru produsele care sunt clasificate ca dispozitive medicale returnarea se va face fara explicatii si fara conditii de ambalare.

 

Atentie! Daca ati optat pentru ridicarea produselor din magazinul nostru, va rugam sa sunati pentru a va asigura ca acestea au ajuns din depozit.

Sirius Distribution face eforturi continue pentru ca informaţiile referitoare la produse să fie corecte. Rareori acestea pot conţine totuși inadvertenţe. Imaginile aferente produselor au caracter informativ şi pot conţine accesorii neincluse în pachetele standard, unele specificaţii pot fi modificate de producător fără preaviz sau pot exista erori de redactare.

 

Acest produs poate fi postat la cerere in Sistemul Electronic de Achiziţii Publice (SEAP). Pentru adăugare în SEAP vă rugăm să ne transmiteți o solicitare pe adresa noastră: office@sirius-distribution.ro

 

Vă invităm să luați legătura cu reprezentanții noștri pentru a identifica cea mai avantajoasă soluție tehnică și financiară pentru compania dvs.
Acest serviciu este gratuit și disponibil numai pentru Persoane Juridice.

 

IMPORTANT! Costurile de livrare NU SUNT incluse in pretul afisat al produselor.

Sirius Distribution face eforturi continue pentru ca informaţiile referitoare la produse să fie corecte. Rareori acestea pot conţine totuși inadvertenţe. Imaginile aferente produselor au caracter informativ şi pot conţine accesorii neincluse în pachetele standard, unele specificaţii pot fi modificate de producător fără preaviz sau pot exista erori de redactare.

Acest produs poate fi postat la cerere in Sistemul Electronic de Achiziţii Publice (SEAP). Pentru adăugare în SEAP vă rugăm să ne transmiteți o solicitare pe adresa noastră: office@sirius-distribution.ro

IMPORTANT! Costurile de livrare NU SUNT incluse in pretul afisat al produselor.

  • Cod produs: GF-COL-ABB
  • Disponibilitate: In Stoc
  • Greutate: 5.00 Kg
  • Fără TVA: 574,74 Lei
  • Cu TVA: 695,44 Lei
Consiliere: 021.250.91.32
Discount cantitate: WhatsApp
Plată: card, OP, cash, bilet la ordin
Retur: fără probleme 15 zile
SICAP/SEAP: disponibil

Etichete: colector A-BB, colector psi, colector apa, colector pompieri, colector apa instalatii, colector instalatie psi, colectoare apa